
您當前位置:
網站首頁 >
產品展示 > 超聲波/電容式液位計 > 超聲波液位計 > KUS 550
產品展示
聯系我們
公司電話:18909188083
E-mail:sales@hoanindustry.com
地址:西安市高新區錦業二路里花南路信凱大廈7層

掃一掃關注我們
KUS550系列超聲波液位計
KUS550系列低功耗超聲波液位計在緊湊堅固的PVC外殼中提供非常短距離到遠距離的檢測和測距專為IP68水浸入設計,比倍加福的產品應用場景更加廣泛,窄聲束波束角確保高信號可靠性,支持模擬量,開關量,數字量,電壓,串口等多種輸出,寬電壓3.3~30V供電,灌膠耐酸堿,PVDF全氟塑料材質,小量程0.6米盲區是150mm,大量程2.5米盲區是250mm,半功率角7.5°,分辨率0.1mm,精度達0.5%F.S.,耐溫-40~85℃。多用于物聯網,污水處理,罐體,智能垃圾桶等液位物位的測量。使用場景廣泛,用戶綜合體驗度高。
§ 產品特點
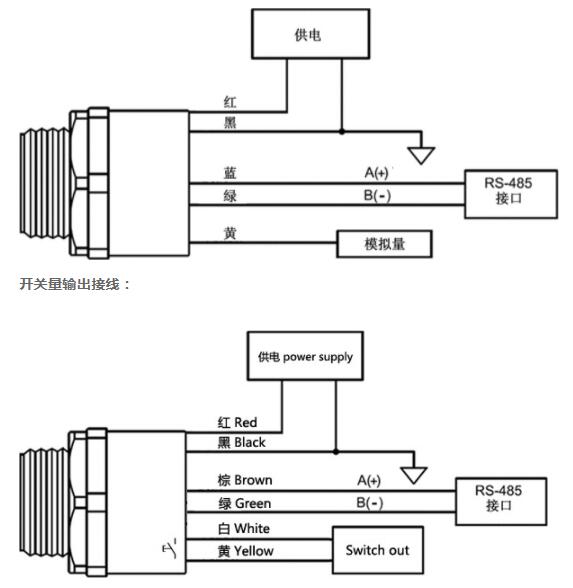
§ 電器連接和信號定義
模擬量輸出接線:


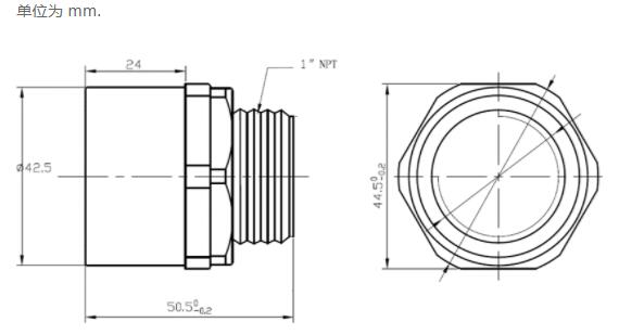
超聲波液位計選型表